前爆款制作人再创业才半年就倒下了?新作曾获千万预约PG电子官网- PG电子试玩- APP下载
2026-01-17PG电子,PG电子官方网站,PG电子试玩,PG电子APP下载,pg电子游戏,pg电子外挂,pg游戏,pg电子游戏,pg游戏官网,PG模拟器,麻将胡了,pg电子平台,百家乐,捕鱼,电子捕鱼,麻将胡了2上海趣糖网络正式递交破产重整申请的消息,是在1月12日传开的,很多人第一反应是错愕,不是因为公司有多大,而是因为它倒得实在太快了。
公司从成立到今天,三年多一点,旗下新产品《米姆米姆哈》7月正式上线月份裁员传闻的出现,总共差不多才70天....
这家公司身上,集齐了这几年游戏行业最典型、也最容易被忽视的几个关键词,明星制作人、热门赛道、高预约量、火爆开局、快速坠落。
如果只看2025年7月,《米姆米姆哈》的开局几乎挑不出任何毛病,首曝的PV不仅请来了B站UP主逍遥散人演唱魔性的主题曲,还搭配了反复循环的BGM,让不少观众直呼有点洗脑。
随后手游版本上线的首日,还冲上了iOS免费榜第2,上线前的预约量破千万,小红书上甚至自发形成了“抢 ID”的讨论热潮。
并且在模拟经营这个不算冷门、但也谈不上拥挤的赛道里,它一度被不少人视作“稳健型选手”。
更重要的是背景,创始人郑宙理,前《摩尔庄园》的制作人,这个标签在业内的含金量不用我多说了吧?项目从2022年开始研发,经历了多轮测试,团队巅峰期规模接近80人,背后还有 FunPlus、天梯网络这样的投资方。
站在当时的时间点看,这是一款怎么看都不像会“出事”的产品,但问题恰恰在于,行业里,最危险的时刻,往往也是这种“大家都觉得还行”的阶段。
因为郑宙理身上的标签,从来都是一把双刃剑,他早年在淘米网络参与了儿童页游《摩尔庄园》《赛尔号》的制作,后来推动了摩尔IP的手游化,这些经历也让他在“社区型、童话风、轻度社交”这个方向上,有着极强的行业辨识度。
但问题也在这里,趣糖网络立项的第一款产品,几乎是顺着这条路径自然延伸出来的,类《摩尔庄园》的童话社区模拟经营,《米姆米姆哈》。
这个选择本身没有错,但它隐含了一个风险,玩家和行业,对它的容忍度反而会更低,因为当你顶着“前摩尔庄园制作人”的名头出现时,大家期待的不是“合格”,而是要“新一代答案”。
游戏上线后,评价很快出现分化,一部分玩家喜欢它的治愈氛围、童话美术和建造过程;
而另一部分玩家则迅速指出问题:玩法熟悉、创新有限,技术层面存在卡顿和BUG,建模的精度也达不到当下的主流水平。
真正要命的是数据,在Steam上的好评率仅为 27%,而iOS端的累计收入差不多只有450万元。
放在任何一个中小团队里,这都算不上成功,而且对于一个80人规模、研发数年、有融资背景的项目来说,这几乎等同于宣判了。
更讽刺的是,它的榜单表现,甚至还没能超过已经上线四年多的《摩尔庄园》手游,这说明一件事,情怀和期待,撑不过一个完整的商业周期。
2025年10月,《米姆米姆哈》上线还不到三个月,裁员的消息就传出了,内部消息人士称,公司分批次进行了裁员,先离开的员工拿到了N+1,剩余的员工则是发完了9月的工资;
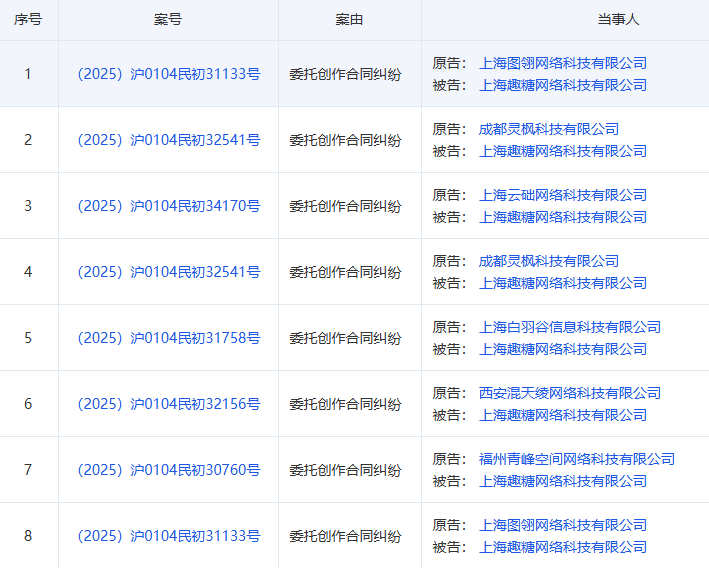
2026年1月起,公司开始陷入多起合同纠纷,多家美术外包公司起诉趣糖网络,理由无一例外都是,委托创作合同纠纷。
同时,《米姆米姆哈》的官方账号停更在10月1日,没有版本预告,没有解释说明,只有沉默。
这一切拼在一起,其实也已经很清楚了:现金流断了,而且断得很突然,不是没努力,而是没有空间和时间再继续等了。
事实上,把趣糖网络单独拎出来,很容易被解读成“创业失败案例”,但如果你把时间线拉开,会发现它可能只是近两年,行业洗牌中的一个切片。
比如成都鬼脸科技,这家曾在2021年获腾讯投资的公司,凭借《灵魂潮汐》在二游赛道崭露头角,首月的流水就高达5600万元;
然而由于公司后续暴露的产能不足、管理混乱等问题,新作《神隐之子》陷入了难产并遭遇资方撤资,最终也在2025年5月,申请了破产重整。
似乎整个行业正在对多个赛道下“病危通知”,尤其是像社交驱动型派对游戏、传统MMORPG等赛道,偏社交驱动、偏情绪价值、但商业效率不高的方向,正在被迅速淘汰。
值得注意的是,趣糖网络申请的是破产重整,而不是清算。这意味着,项目、版号、商标、软件著作权,理论上都还有被重新打包的可能。
但前提只有一个,必须有人相信,它还有被“接盘”的价值,而在今天的市场环境下,我认为这件事也并不容易,因为破产重整不是重生按钮,只是给失败留下一个体面的缓冲区,它能解决的是“怎么退场”,而不是“一定能回来”。
*每天推送游戏资讯、新游推荐、游戏杂谈等,带你了解不一样的游戏世界。返回搜狐,查看更多


